“任职单位:中国股市”,这位私募总经理履历火了:从第一代股民,成为职业投资人-证券公司席位转让
“任职单位:中国股市;任职部门:中国股市;职务:职业股市投资者!”你没有看错,这是一位新晋私募基金总经理的一段长达3年的履历表。
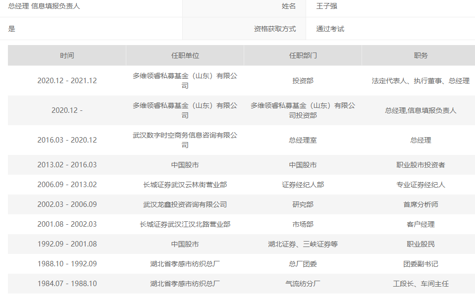
4月15日,多维领睿私募基金(山东)有限公司正式拿到了中基协的备案资格,担任总经理的王子强曾有两段、总计12年的“职业股民”经历,其中一段长达9年,另一段也有3年。
如今已是私募老总的王子强的履历,也堪称“自强不息”——从最早的纺织厂段长、车间主任,到1992年开始做职业股民, 再到券商营业部大客户经理、经纪人,再到某信息咨询公司总经理,再到多维领睿私募基金(山东)有限公司执行董事,这27年成功完成了从纺织厂车间主任到私募老总的逆袭。
不过近期基金业协会信息也显示,有私募在登记备案过程中因投资业绩对账单规模过小、高管投资管理经历较短、高管人员专业胜任能力不足等原因被中止备案。
从第一代“职业股民”到私募老总
虽然目前私募业绩受市场影响而表现低迷,不过参与备案的机构却络绎不绝。从这些新备案私募机构的掌门人从业背景来看,有科班出身,也有在市场中混迹多年的草根出身。近期市场就有“老司机”大逆袭,92年入市的“职业老股民”备案了自己的私募公司。
据基金业协会备案信息显示,多维领睿私募基金(山东)有限公司于今年4月15日在基金业协会登记备案,公司的类型为私募证券投资基金管理人,公司的法定代表人、执行董事为宋小宇,总经理为王子强。
1984年夏天,王子强进入了湖北省孝感市纺织总厂,在气流纺分厂担任工段长和车间主任,四年后,他被调到总厂团委,又当了四年的团委副书记,前前后后在这家纺织总厂干了8年。
对于上世纪80年代而言,纺织厂的工作不能说是一个“铁饭碗”,但也是一个很主流、也很体面的工作。而1990年我国上海、深圳证券交易所成立,A股开始交易。1992年,邓小平南巡讲话,股市自此开启了一波空前的大行情。
这年9月,王子强辞去了纺织厂的团委副书记,一头扎进了中国股市。在1992年至2001年这9年时间,他先后在湖南证券、三峡证券的营业部开户、交易。也就是说,王子强是和杨百万同一时期的老股民,
成为了当时第一代“中国股民”。
杨百万被称为中国第一股民,是原上海铁合金厂职工,因从事国库券买卖赚取人生第一桶金而成名,成为上海滩第一批证券投资大户,也是股票市场上炽手可热的风云人物。
2001年8月,在股市摸爬滚打9年的王子强找了一份正式的“营生”,他进入长城证券武汉江汉北路营业部,在市场部担任客户经理,也就是拉人头“开户”,待遇是基本工资加佣金收入,暂时告别了职业股民的身份。
几个月后,习惯投资和来去自由的王子强辞去了这份工作,加入了武汉龙鑫投资咨询有限公司,在研究部担任首席分析师。四年后,他又去了长城证券武汉云林街营业部,成为一名专业的证券经纪人。
从2013年2月到2016年3月,王子强人生第二次辞去工作,全身心投入中国股市中。他并不介意将这三年的经历填在履历表里——任职单位和部门均为:中国股市;职务是:职业股市投资者。
2016年春天,王自强再次回到职场,成为武汉数字时空商务信息咨询有限公司总经理,也正是这四年多的高管经理,让他日后萌生了创业一家私募基金的念想,也就是多维领睿私募基金。
私募高管“英雄不问出处”
无独有偶,同样是在4月15日备案的星月泓华私募基金管理(海南)有限公司的法定代表人、总经理戴鲁宁也和王子强一样,也曾有过6年的“职业投资者”经历,这段时间是2007年6月至2013年5月。
1997年5月,前前后后当了6年工程师的戴鲁宁决定转行,成为当地一家房地产公司的销售处销售员,彼时正是国内商品房概念兴起,在这家工作的十年时间,算是赶上了时代的风口。
2007年,沉寂多年的A股市场迎来了一波波澜壮阔的大牛市,这年6月,戴鲁宁辞去工作,正式成为一位自由职业者。他给这六年的履历表填写的是,任职单位和职位均为“无”,职务为“职业投资者”。
6年后的2013年夏天,重归职场的戴鲁宁进入了共青城云岭财富投资管理合伙企业,担任投资部的基金经理,正式开启了职业投资之路,这些都为他日后创办自己的私募基金奠定了基础。
与戴鲁宁不谋而合的是,会计出身的星月泓华合规风控负责人戴鲁艳也曾有两段“自由职业”的经历,一次是2004年10月至2015年12月,一次是2012年12月至2013年5月。
从省团委书记到证监局局长,从华尔街精英到头部公募高管,更不必说昔日一呼百应的明星基金经理……在两万多家私募基金中,从来不缺履历光鲜的高管,亦有草根出身、一路逆袭的样本。
英雄不问出处。在中基协不定期公布的被注销私募机构中,也不乏履历光鲜的合伙人,而在终成私募大佬的一群人中,亦有如冯柳、林园等半路出家的“草根”。
有私募因高管专业胜任
能力不足等原因被中止备案
不过《每日经济新闻》记者注意到,今年以来,在私募机构登记备案过程中,合计有26家机构被基金业协会中止备案。原因也是多样的, 其中就包括团队专业胜任能力不足的问题,即一些私募在备案过程中,因为高管投资管理经历较短,高管人员专业胜任能力不足等原因被中止备案。
4月15日,基金业协会发布《关于发布私募基金管理人登记案例公示的通知》称,结合近期私募管理人登记出现的新情况,梳理私募投资基金管理人登记中的共性问题对外公示。值得注意的是,在基金业协会公布的案例中,有机构因为团队专业胜任能力不足而被中止办理,包括高管及团队员工投资管理经验业绩证明不符合要求、提供的投资业绩对账单投资规模过小、高管投资管理经历较短、申请机构员工/高管人员专业胜任能力不足。
此外还有机构实际控制人不任职且投资经验不足,也未作为高级管理人员参与申请机构日常经营管理决策,却承担机构的实际控制人角色,对申请机构缺乏实际控制力,公司治理结构不稳定;实际控制人不任职且无行业从业经验,既往数十年工作履历基本不涉及投资管理工作;协会无法与实际控制人取得联系,其电话非本人接听,称实际控制人不参与实际运营。
同时,还有申请机构存在循环出资、交叉持股,股权结构不清晰的现象。机构因为申请机构股权代持或股权结构不清晰,私募基金管理人的出资人不得有代持、循环出资、交叉出资、层级过多、结构复杂等情形。
协会指出,在既往的私募管理人登记中,股权代持目的主要为:一是为规避上市公司信息披露或者便于未来进行关联交易,隐瞒其与上市公司的实际关联关系。二是因真实股东、实际控制人存在既往违规行为或者旗下有冲突业务机构等原因,通过股权代持等方式隐藏冲突业务关联方或股东不适格身份。
对于在私募备案过程中,一些公司因为高管专业胜任能力不足等原因被中止备案这一问题,私募排排网财富研究部副总监刘有华今日在微信接受采访时告诉《每日经济新闻》记者,这是私募行业门槛越来越高的一种体现,也是一种事前的风险防范行为,通过硬性的高标准,可以降低一部分浑水摸鱼的行为。私募行业门槛的提高有利于降低整体行业的风险,是对投资者负责的一种行为,而且随着未来越来越多的高质量人才涌入私募行业,对私募行业的发展也会起到很好的推动作用。
编辑|
程鹏 杜恒峰
校对|
卢祥勇
每日 经济新闻综合自每经app(记者:杨建)、财联社
阅读更多精彩财经新闻,
请关注“
每经头条
”(nbdtoutiao),
今天晚些时候继续为你呈现。
每日经济新闻
相关内容
相关资讯
-
“云睡觉”、“云蹦迪”泡沫破碎,圆三:已放弃直播睡觉,接受自己是个普通人-小财是多少万
作者|青松 编辑|水笙来源|连线Insight (ID:lxinsight)抖音主播圆三靠直播睡觉发了笔小财。2月中旬
-
中炬高新股票中炬高新股票股吧大家好,如果您还对中炬高新股票不太了解,没有关系,今天就由本站为大家分享中炬高新股票的知识,包括中炬高新股票股吧的问题都会给大家分析到,还望可以解决大家的问题,下面我们就开始吧!
-
北海银河产业投资股份有限公司会计报表分析北海银河高科技产业股份有限公司大家好,关于北海银河产业投资股份有限公司会计报表分析很多朋友都还不太明白,不过没关系,因为今天小编就来为大家分享关于北海银河高科技产业股份有限公司的知识点,相信应该可以解决大家的一些困惑和问题,如果碰巧可以解
-
上海电气集团股份有限公司人民电器厂制造上海电气股份有限公司人民电器厂电话各位老铁们好,相信很多人对上海电气集团股份有限公司人民电器厂制造都不是特别的了解,因此呢,今天就来为大家分享下关于上海电气集团股份有限公司人民电器厂制造以及上海电气股份有限公司人民电器厂电话的问题知识,还望可
-
分析投资收益为负投资收益率为负其实分析投资收益为负的问题并不复杂,但是又很多的朋友都不太了解投资收益率为负,因此呢,今天小编就来为大家分享分析投资收益为负的一些知识,希望可以帮助到大家,下面我们一起来看看这个问题的分析吧!
-
信托登记制度与非标信托登记制度与非标准制度本篇文章给大家谈谈信托登记制度与非标,以及信托登记制度与非标准制度对应的知识点,文章可能有点长,但是希望大家可以阅读完,增长自己的知识,最重要的是希望对各位有所帮助,可以解决了您的问题,不要忘了收藏本站喔。
-
标准资产信托人数信托投资者人数很多朋友对于标准资产信托人数和信托投资者人数不太懂,今天就由小编来为大家分享,希望可以帮助到大家,下面一起来看看吧!本文目录我有300万闲置资金,能
-
世界银行的成员国世界银行成员国大家好,关于世界银行的成员国很多朋友都还不太明白,不过没关系,因为今天小编就来为大家分享关于世界银行 成员国的知识点,相信应该可以解决大家的一些困惑和问题,如果碰巧可以解决您的问题,还望关注下本站哦,希望对各