上证50、上证180等核心指数最新定期调整方案来了!多达7家券商被同时调出指数-沪市股票共多少支

理财规划 阅读 175 2025-04-24 18:47:31

每经记者:王海慜 每经编辑:肖芮冬

今天中证指数官网发布了沪深300、上证50、科创50、上证180、上证380和中证500等多个指数样本的定期调整方案。此次调整均于2022年12月9日收市后生效。

《每日经济新闻》记者注意到,在此次指数调整中有多只券商股被调整出了指数。例如国泰君安、海通证券被调整出上证50,国金证券、东吴证券、方正证券、南京证券被调整出上证180,东北证券被调出中证500。与此同时,国投资本、东吴证券此次被新调入上证380指数。

在今年6月的指数调整中,就曾有多家券商被调出了沪深300、上证180等重要市场指数。根据指数的编制规则,过去一年的时间内样本股的市值、成交表现是决定能否保留在上述市场指数的决定性因素,而这也是此次又有多只券商股被调出指数的“硬伤”。

沪深300金融行业样本权重持续下降

据中证指数公司介绍,根据指数规则,经指数专家委员会审议,沪深300指数此次更换15只样本,大全能源、德业股份等调入指数;中证500指数更换50只样本,东方电缆、派能科技等调入指数;中证1000指数更换100只样本,高测股份、艾为电子等调入指数;中证红利指数更换20只样本,鲁西化工、新钢股份等调入指数;中证100指数更换4只样本,天齐锂业、中国中铁等调入指数;中证香港100指数更换7只样本,港铁公司、百胜中国等调入指数。

本次样本调整后,各指数对实体经济的反映进一步加强,工业行业样本数量显著提升。沪深300指数中,新进科创板样本2只,样本数量为15只,样本权重由2.31%升至2.41%;新进创业板样本1只,样本数量为36只,样本权重由12.84%降至12.66%。从行业来看,工业行业样本数量净增加6只,权重上升0.65%;公用事业行业样本数量净增加2只,权重上升0.19%;能源行业样本数量净增加1只,权重上升0.12%;金融行业样本数量净减少2只,权重下降0.33%;医药卫生行业样本数量净减少3只,权重下降0.37%。

值得一提的是,在近期沪深300的样本股调整中,金融行业样本权重持续下降。在今年6月的调整中,沪深300金融行业样本数量净减少5只,权重下降1.05%。相比之下,此次新调入沪深300指数的15只样本有多只来自新能源板块。

另外,此次中证500指数的调整中,科创板、创业板样本数量分别增加至25只、56只,样本权重分别增加至2.61%、6.48%;工业行业样本数量净增加5只,权重上升0.36%;原材料行业样本数量净增加4只,权重上升1.96%;信息技术行业样本数量净增加4只,权重上升0.63%。中证1000指数中,工业行业样本数量净增加15只,权重上升0.52%;医药卫生行业样本数量净增加5只,权重上升0.71%。中证红利指数保持高股息特征,近一年股息率由6.16%上升至6.30%,指数分红稳定性也有提升。

经过此次样本调整后,从市值覆盖率来看,沪深300、中证500和中证1000指数占沪深市场总市值比分别为51.62%、15.99%和15.49%。

两家头部券商被调出上证50指数

根据上证180指数编制方案,上证180是以沪市证券为样本空间,选择经营状况良好、无违法违规事件、财务报告无重大问题、股票价格无明显异常波动或市场操纵的公司,并按照中证一级行业的自由流通市值比例分配样本只数,在行业内选取综合排名最靠前的180只证券作为样本。

而上证50指数样板股的选取以上证180指数样本为样本空间,选择方法为对样本空间内的证券按照过去一年的日均总市值、日均成交金额进行综合排名,选取排名前50位的证券组成样本。

由此来看,过去一年内自由流通市值比例越高的行业,能获得越多的上证180指数样本配额。此外,过去一年的日均总市值、日均成交金额越高的个股就越有机会入围上证50样本股。

而这些筛选条件,对于券商板块颇为不利。据Choice数据统计,今年以来,券商所在的非银行业指数累计下跌23%,在31个申万一级行业中排名倒数第7。2021年以来,券商所在的非银行业指数累计下跌36.6%,在31个申万一级行业中排名倒数第2。

券商板块市场表现的持续低迷,势必会影响到上证180指数的样本配额。在此次调整中,有国金证券、东吴证券、方正证券、南京证券4家券商被调整出上证180指数。今年6月,则有国投资本、华鑫股份、天风证券、红塔证券等4家券商被调出上证180指数。

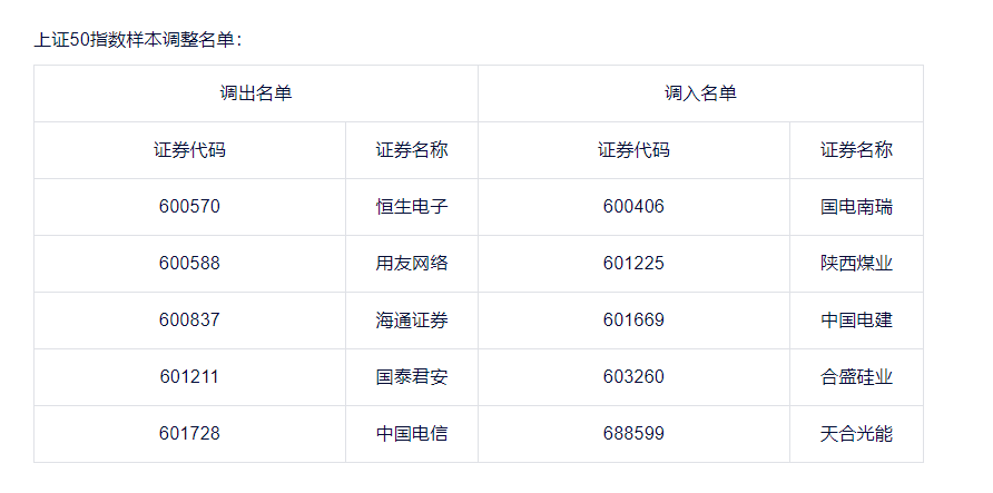
此次上证50指数样本调整情况

另外,经过此次调整之后,国泰君安、海通证券被调整出上证50指数,上证50指数样本中券商股的数量将从原来的6只将下降为4只。

根据上证50样本调整规则,此前国泰君安、海通证券日均成交金额偏低应是此次被调出指数的主要原因。据Choice数据统计,去年11月以来,国泰君安、海通证券日均成交金额在上证50成分股中分别排名倒数第4、倒数第3位。

每日经济新闻

3次元测量仪

影像测量仪仪

上海影像测量仪特价销售

影像测量仪系统

相关内容

版权声明:本文内容由互联网用户自发贡献,该文观点仅代表作者本人。 本站仅提供信息存储空间服务,不拥有所有权,不承担相关法律责任。如发现本站有涉嫌抄袭侵权/违法违规的内容, 请发送邮件至举报,一经查实,本站将立刻删除。
上一篇: 上证50、上证180等指数将调样,科创板样本数增加-现在上证指数1000股要多少钱 下一篇: 上证50、沪深300、中证500,谁才是你的梦中情指?-嘉实300基金估值

相关资讯

  • 华融信托的交易结构图华融信托的交易结构图是什么
    华融信托的交易结构图华融信托的交易结构图是什么

    大家好,关于华融信托的交易结构图很多朋友都还不太明白,不过没关系,因为今天小编就来为大家分享关于华融信托的交易结构图是什么的知识点,相信应该可以解决大家的一些困惑和问题,如果碰巧可以解决您的问题,还望关注下本

    理财规划 2026-01-12 190
  • 交银村镇银行网站交通村镇银行
    交银村镇银行网站交通村镇银行

    大家好,今天给各位分享交银村镇银行网站的一些知识,其中也会对交通村镇银行进行解释,文章篇幅可能偏长,如果能碰巧解决你现在面临的问题,别忘了关注本站,现在就马上开始吧!本文目录

    理财规划 2025-12-26 190
  • t3纸张尺寸t3页面纸张太小
    t3纸张尺寸t3页面纸张太小

    大家好,关于t3纸张尺寸很多朋友都还不太明白,不过没关系,因为今天小编就来为大家分享关于t3页面纸张太小的知识点,相信应该可以解决大家的一些困惑和问题,如果碰巧可以解决您的问题,还望关注下本站哦,希望对各位有

    理财规划 2025-12-26 190
  • t3系统资产负债表不平t3资产负债表表不平
    t3系统资产负债表不平t3资产负债表表不平

    大家好,感谢邀请,今天来为大家分享一下t3系统资产负债表不平的问题,以及和t3资产负债表表不平的一些困惑,大家要是还不太明白的话,也没有关系,因为接下来将为大家分享,希望可以帮助到大家,解决大家的问题,下面就

    理财规划 2025-12-26 190
  • t3系统总账如何打印t3系统如何打印凭证
    t3系统总账如何打印t3系统如何打印凭证

    大家好,感谢邀请,今天来为大家分享一下t3系统总账如何打印的问题,以及和t3系统如何打印凭证的一些困惑,大家要是还不太明白的话,也没有关系,因为接下来将为大家分享,希望可以帮助到大家,解决大家的问题,下面就开

    理财规划 2025-12-26 190
  • t3财务普及版破解补丁t3财务通普及版
    t3财务普及版破解补丁t3财务通普及版

    大家好,关于t3财务普及版破解补丁很多朋友都还不太明白,不过没关系,因为今天小编就来为大家分享关于t3财务通普及版的知识点,相信应该可以解决大家的一些困惑和问题,如果碰巧可以解决您的问题,还望关注下本站哦,希

    理财规划 2025-10-14 190
  • 上海信托登记上海信托登记中心
    上海信托登记上海信托登记中心

    大家好,感谢邀请,今天来为大家分享一下上海信托登记的问题,以及和上海信托登记中心的一些困惑,大家要是还不太明白的话,也没有关系,因为接下来将为大家分享,希望可以帮助到大家,解决大家的问题,下面就开始吧!

    理财规划 2025-10-13 190
  • 中文系无法进银行中文系能进银行吗
    中文系无法进银行中文系能进银行吗

    其实中文系无法进银行的问题并不复杂,但是又很多的朋友都不太了解中文系能进银行吗,因此呢,今天小编就来为大家分享中文系无法进银行的一些知识,希望可以帮助到大家,下面我们一起来看看这个问题的分析吧!

    理财规划 2025-09-24 190